هواکش محوری DZL 40/42 B؛ دو سرعته

هواکش‌های محوری داخل داکت

هواکش داخل داکت، دو سرعته
قابل استفاده در واحد ماشین آلات، نمایشگاه، دفتر فرمان، کارگاه، سایت تولید

هواکش داکتی مایکو، قابل استفاده در واحد ماشین آلات، نمایشگاه، دفتر فرمان، کارگاه و سایت های تولیدی هستند؛ در هر موقعیتی قابل نصب بوده و دارای 8 پره فایبرگلاسی پلی آمید هستند که بطور دینامیکی در دوسطح بالانس شده است. بجز مدل DZL 40 / 2B امکان کنترل سرعت بقیه مدل‌ها وجود دارد. امکان معکوس کردن جهت گردش موتور در این سری وجود ندارد. این نوع هواکش‌ها برای تهویه بخار هوای اشباع مناسب نمی باشد. محصولات این دسته دارای محافظ اضافه بار حرارتی بعنوان مشخصه اسناندارد هستند. ترمینال اتصالات بدون پتانسیل می باشد که باید به سوییچ موتور محافظ یا مدار کنترل یک کنتاکتور متصل گردد. در هواکش های قطب متغیر برای محافظت حرارتی باید از  کلید حفاظت از موتور استفاده گردد که تهیه آن بعهده مشتری است. موتورهای قطب متغیر با نسبت سرعت های 8/4 یا 4/2، دارای مدار تغییر قطب Dahlander هستند. درجه حفاظتی این دسته در برابر نفوذ آب IP55 و ظرفیت کاری از 4370 تا 9800 متر مکعب بر ساعت است.


ویژگی‌ها

  سایز قطر خروجی 40 سانتیمتر

  مقاوم در برابر نفوذ آب (IP 55)

  حفاظت در برابر اضافه بار حرارتی

  مناسب برای کارکرد دائم

  موتور مقاوم کم‌مصرف بلبرینگی و بی‌نیاز به تعمیر و نگهداری

  پروانه آن دارای 8 پره فایبرگلاسی پلی آمید می باشد که بطور دینامیکی در دو سطح بالانس شده است.

  سوراخ فلنج در مدل های DZL 56/6 B و DZL 56/4 B مطابق با استاندارد  DIN 24145 بخش دوم، 7/90 می باشد.

  استفاده از این هواکش برای تخلیه بخار هوای اشباع مناسب نمی باشد.


مشخصات فنی

سایز نامی:

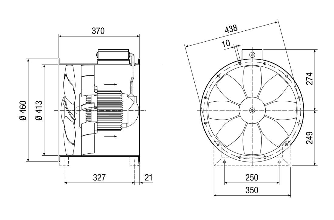
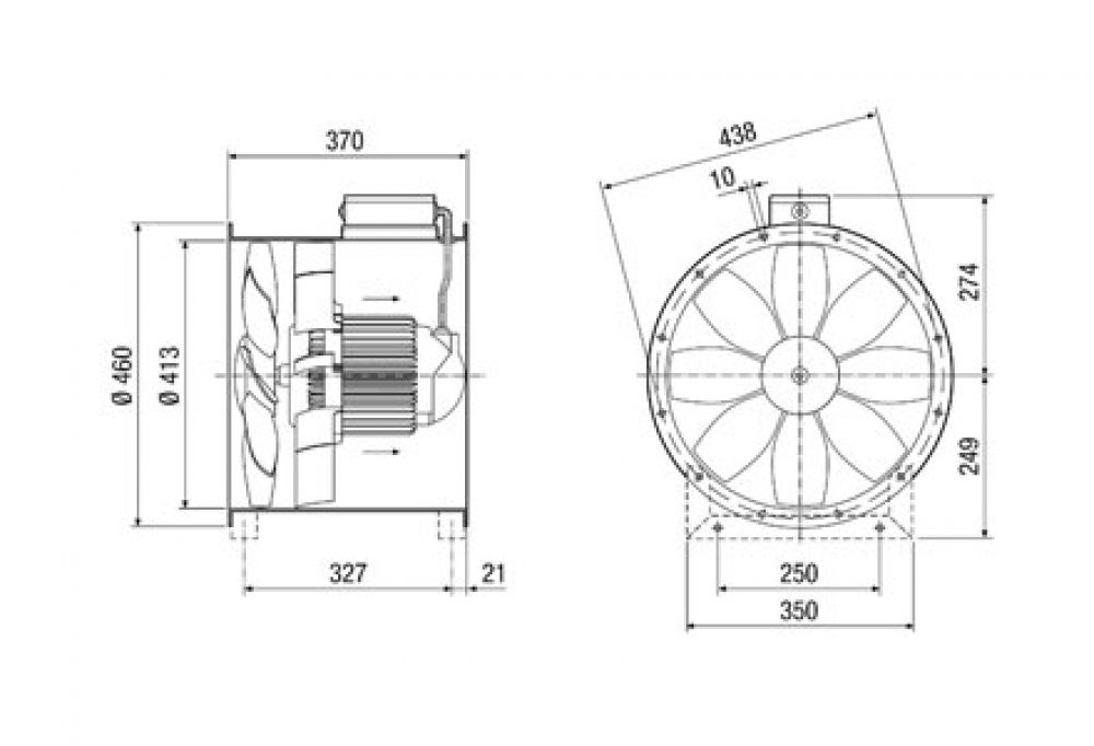
400 میلیمتر

ابعاد ظاهری:

460 * 523 میلیمتر

نوع کارکرد (مکش / دهش):

مکش

حداکثر حجم جریان هوا:

4.490 / 8.900 مترمکعب در ساعت

ولتاژ:

400 ولت (سه‌فاز)

نوع ولتاژ:

جریان متناوب

فرکانس:
50 هرتز
حداکثر مصرف انرژی:

232 / 1.570 وات در شرایط کارکرد بهینه

حداکثر دور موتور:

1.480 / 2.910 دور در دقیقه

فشار نامی:

482 پاسکال در شرایط کارکرد بهینه

کنترل پذیری سرعت:

دارد

نوع پروانه (پیشران):

اکسیال (محوری)

محل نصب:

داخل داکت

نوع نصب:

توکار

درجه حفاظتی (در برابر نفوذ آب):

IP 55 (مقاوم در برابر جریان کم‌فشار آب از تمام جهات)

میزان صدا (فشار صوتی):

76 / 95 دسیبل

حداکثر دمای هوای در جریان:

20- تا 60 درجه سانتیگراد

جنس بدنه:

استیل گالوانیزه

وزن:

23.7 گیلوگرم

اطلاعات فنی مطابق با ErP در نقطه بهترین بازدهی (BEP)

بازدهی کلی η:

52.7 درصد

طبقه‌بندی اندازه‌گیری:

D

طبقه‌بندی بازدهی:

کلی

سطح بازدهی N:

57.8 درصد

نیاز به درایو سرعت متغیر (VSD):

ندارد

توان/ حجم هوا/ فشار/ دور موتور (همگی در نقطه بهترین بازدهی):

0.232 و 1.57 کیلو وات / 3.028 و 6.180 متر مکعب در ساعت / 130 و 482 پاسکال / 1.480 و 2.910 دور در دقیقه


نمودار بازدهی

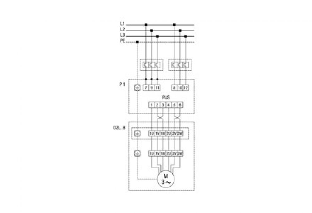
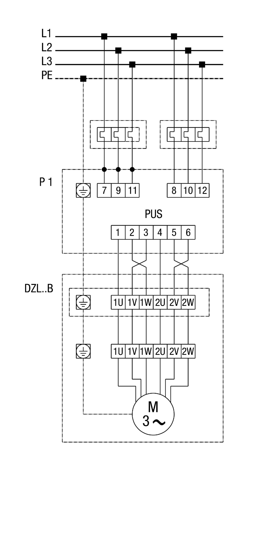
جزئیات سربندی

جزئیات ابعاد

اطلاعات تکمیلی

 

شـرکت مهندسـی- بازرگانی ژفــــکر
بـا 50 ســـــــــــال ســـــــابـقه

سیستم مدیریت هوشمند ساختمان
تـأسیســات و تجهـیزات الکتریـکی

 


 
عرضه مستقیم تجهیزات الکتریکی و خدمات تأسیساتی            www.jafkar.com 
تحت لیسـانس کمپـانی‌هــای Maico ،Gira و این آدرس ایمیل توسط spambots حفاظت می شود. برای دیدن شما نیاز به جاوا اسکریپت دارید           Mobotix

نشانی دفتر: تهران، بزرگراه صدر، خروجی کاوه جنوب، بن‌بست نصر، پ ۳، واحد ۱
تلفن: ۲۲۰۰۲۴۳۵   |   نمابر: ۲۲۶۲۲۴۳۵   |  پیامک/ ارتباط مجازی: ۰۹۱۰۸۹۴۰۳۳۵

                 

      

English                                                   رحمت خدا بر کسی که وقتی کاری می‌کند، عالی انجامش دهد.

                                                              الّلهُــمَّ صَـلِّ عَلـی مُحَمَّـــد وَآلِ مُحَمَّــــد وَ عَجِّــل فَرَجَهُـــم

      Gira     Maico    Mobotix